Commenti dei clienti

Prodotti

Tools2Go-79534 Tools2Go-79534
Tools2Go-79534 Tools2Go-79534
Essiccatoio mobile per vernici a infrarossi 3300w 3 radiatori
Essiccatoio mobile per vernici a infrarossi 3300w 3 radiatori Riscaldatore a infrarossi con 3 lampade 3x1000W per l'asciugatura della vernice. Indicato per l'essiccazione di fondi,...

Numero articolo

T2g-TV 79534

€ 850,89 *
€ 681,84 *
Quantità: 
Ordine
 
Lista dei desideri

Hai domande su questo prodotto?

Inviaci la tua domanda

Essiccatoio mobile per vernici a infrarossi 3300w 3 radiatori
Riscaldatore a infrarossi con 3 lampade 3x1000W per l'asciugatura della vernice.
Indicato per l'essiccazione di fondi, vernici e stucchi su tutte le parti della carrozzeria.
Vantaggi:
Regolazione digitale completamente automatica della potenza termica (LED)
2 sistemi di essiccazione:
- PULSE: la pre-essiccazione/evaporazione previene le screpolature
- ROUTINE: essiccazione/stagionatura continua
Il braccio e la testa multiregolabili consentono di posizionare l'asciugatrice a 360° intorno, sopra e sotto i veicoli, in tutte le posizioni possibili
Caratteristiche:
Lampade ad infrarossi rosse al quarzo VPower onde corte da 55 cm
Grazie alla potente sospensione pneumatica, le grandi lampade possono essere facilmente posizionate in qualsiasi posizione desiderata.
Asciuga la vernice dall'esterno verso l'interno
Risparmio di tempo perché non è necessario asciugare con il phon.
Controllo elettronico della temperatura da 40 a 100 °C
I radiatori possono essere accesi separatamente e l'angolo regolabile da 0 a 300°
Ruote con cuscinetti a rulli con freno
fornito con spina industriale blu 16A 230V
Esempi di essiccazione a infrarossi:
Le lampade a infrarossi possono abbreviare notevolmente un progetto di verniciatura a spruzzo accelerando i tempi di asciugatura dei vari strati e finiture.
I tempi di polimerizzazione consigliati di seguito sono indicativi, basati su 3 lampade, ad una distanza di 40 cm dai pezzi. La temperatura superficiale sarà di circa 100°C.
Riempitivo      6-8 minuti
Strato di base       6-8 minuti
Primer           7-9 minuti
Vernice trasparente      8-10 minuti
Tieni presente che molti fattori possono influenzare il tempo di polimerizzazione effettivo, come umidità, colore della vernice, forma dell'oggetto, distanza dalla lampada IR, ecc.
La vernice può rompersi o sbucciarsi se si asciuga troppo rapidamente. Preriscaldare la vernice per 2-3 minuti in modalità PULSE, quindi in ROUTINE per una polimerizzazione regolare
Opzioni:
Lampada di ricambio a infrarossi 1000W (rif 891600450)
Lampada a infrarossi 1000 Watt, lunghezza 55 cm (rif 891600450)
Potenza    W    3x1000
Voltaggio    V    230
Superficie di asciugatura    mm    1200x1000
Temperatura    °C    40-100
Intervallo di tempo    min    0-99
Area di lavoro    mm    1200x1000
Peso    kg    60,00
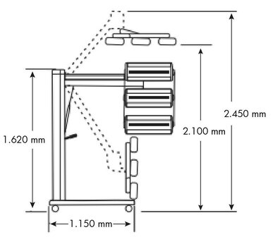
Dimensioni (l x b x h)    mm    789x1.150x1.620

Fai una domanda su questo prodotto

I campi contrassegnati con un * sono obbligatori

La tua domanda è stata inviata! Grazie.

Ti risponderemo non appena possibile.